起泡葡萄酒 Charmat 法(罐式法)二次发酵罐设计工艺
在葡萄酒工艺中,起泡葡萄酒 Charmat 法(罐式法)的二次发酵罐设计工艺具有重要地位。这种方法以其高效、便捷的特点,在现代起泡葡萄酒生产中得到了广泛应用。本文将详细介绍 Charmat 法二次发酵罐的设计工艺,包括罐体结构、发酵过程、温度控制等方面。

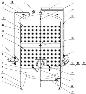
Charmat 法二次发酵罐通常采用不锈钢材质,以确保良好的卫生条件和耐腐蚀性。罐体形状一般为圆柱形,这样有利于发酵过程中的气体均匀分布和搅拌。罐体的大小可以根据生产规模进行调整,从小型的几百升到大型的数千升不等。
在罐体结构方面,二次发酵罐通常配备有搅拌装置,以促进酵母的发酵和二氧化碳的溶解。搅拌装置可以是机械搅拌或气体搅拌,机械搅拌通常采用搅拌桨或螺旋桨,通过电机驱动旋转来搅拌发酵液;气体搅拌则是通过通入二氧化碳气体来产生气泡,从而搅拌发酵液。二次发酵罐还配备有温度控制系统,以确保发酵过程中的温度稳定。温度控制系统通常采用加热棒或冷却盘管,通过调节加热或冷却介质的流量来控制发酵液的温度。
在发酵过程中,首先将基酒(调配好的静止葡萄酒)注入二次发酵罐中,然后加入酵母和适量的糖分,启动发酵过程。酵母在适宜的温度和营养条件下开始发酵,将糖分转化为酒精和二氧化碳。二氧化碳气体在罐内积聚,形成压力,使葡萄酒产生气泡。发酵过程通常需要数天到数周的时间,具体时间取决于发酵温度和酵母的活性。
在发酵过程中,温度控制是非常重要的。发酵温度过高会导致酵母活性过高,产生过多的热量,从而影响葡萄酒的质量;发酵温度过低则会导致酵母活性降低,发酵速度变慢,甚至可能导致发酵不完全。因此,需要通过温度控制系统精确控制发酵温度,一般将发酵温度控制在 15℃-20℃之间。
除了温度控制外,还需要注意发酵过程中的氧气控制。氧气会促进酵母的生长和代谢,从而影响葡萄酒的质量。因此,在发酵过程中需要尽量减少氧气的进入,可以通过密封罐体、使用惰性气体保护等方式来实现。
发酵完成后,需要对葡萄酒进行澄清和过滤,以去除酵母和杂质,提高葡萄酒的质量。澄清和过滤可以采用自然沉淀、离心分离或过滤等方式进行。澄清和过滤后的葡萄酒可以进行灌装和包装,成为成品起泡葡萄酒。
Charmat 法二次发酵罐的设计工艺是起泡葡萄酒生产中非常重要的环节。通过合理的罐体结构设计、精确的温度控制和氧气控制,可以确保发酵过程的顺利进行,生产出高质量的起泡葡萄酒。随着科技的不断进步,Charmat 法二次发酵罐的设计工艺也在不断改进和完善,为起泡葡萄酒的生产提供了更加高效、便捷的解决方案。
-
上一篇
怀来酒庄 -
下一篇
观色时的光线选择(自然光 / 白色灯光)常识
